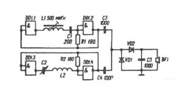
The metal detector, the diagram of which is shown in the figure, is made on one chip. It consists of two identical LC generators and a detector to the output of which the headsets are connected. The generators are high-frequency, operating at a frequency of about 465 kHz. One of the generators has a non-tunable circuit, the circuit of the second has a volumetric coil L2, the inductance of which changes when approaching a metal object.
Accordingly, the frequency of tuning the circuit, which includes the coil, also changes. The frequencies from both oscillators are sent to one detector, in which they are summed up. At the output of the detector, zero beats appear, the frequency of which is higher the greater the detuning of the L2 C2 circuit relative to the L1 C1 circuit.
The chip is K155LA3, diodes D9 or GD507. The L2 coil is wound on a mandrel with a diameter of 200 mm and contains 35 turns of PEV-0.3 wire. Variable capacitor - from a radio receiver with a capacity of 7-240 pf.
By changing the pre-matching of the frequencies of the generators using a variable capacitor, you can set the device to detect objects of a certain mass.
- How To Build Metal Detectors
- Homemade Metal Detector Simple & Sensitive
- How to make homemade metal detector
- Make a Homemade Metal Detector
- Homemade Metal Detector Without Radio
metal detector schematics for free powerful metal detector circuit diagram homemade metal detector circuit how metal detectors work illustrated professional metal detector circuit diagram block diagram of metal detector metal detector design schematics metal detector using 555 timer.

Comments
Post a Comment